Трансмиссия Нивы 2121 — ключевой элемент, обеспечивающий передачу мощности от двигателя к колесам, что влияет на характеристики вождения и проходимость. В статье рассмотрим схему трансмиссии, основные компоненты и принципы работы. Понимание устройства и возможностей модификации трансмиссии поможет автолюбителям улучшить комфорт и управляемость автомобиля, а также адаптировать его под специфические условия эксплуатации.
Агрегаты нивовской трансмиссии
Созданная трансмиссия Нивы оказалась настолько успешной и эффективной, что впоследствии послужила основой для разработки Витары. Это сделало новую модель более приспособленной для сложных дорожных условий. Агрегаты трансмиссии Нивы способны удовлетворить требования любого двигателя объемом до 2 литров, поэтому, если вы планируете модернизацию, учтите, что у каждого автомобиля есть свои особенности. Многие преимущества связаны именно с конструкцией и схемой трансмиссии.
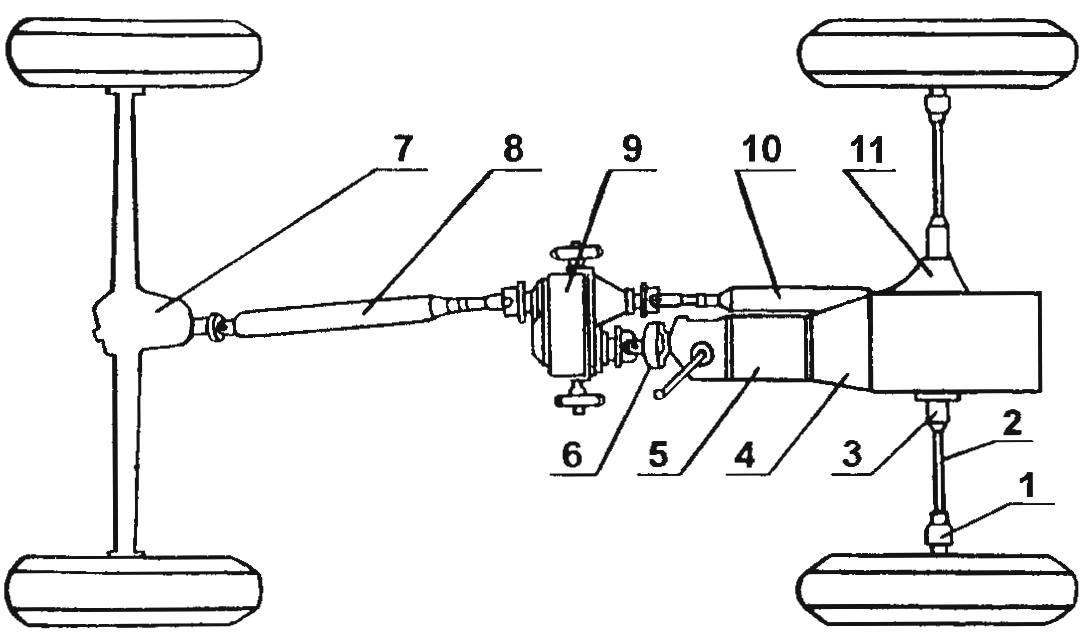
Трансмиссия Нивы и ее компоненты:
- передние приводы;
- передний мост;
- сцепление колес;
- механическая коробка передач (МКПП);
- передний карданный вал;
- промежуточный вал;
- раздаточная коробка;
- рычаг переключения передач;
- межосевой дифференциал и рычаг блокировки;
- колесные дифференциалы;
- задний карданный вал;
- задний мост;
- задний привод.
Конструкция предусматривает следующие состояния:
- разблокированный дифференциал;
- заблокированный дифференциал;
- низшая передача в активном состоянии;
- нейтральное положение;
- высшая передача в активном состоянии.
Эксперты отмечают, что трансмиссия Нивы 2121 представляет собой надежное и простое решение для внедорожного автомобиля. Она включает в себя механическую коробку передач с пятью ступенями, что обеспечивает оптимальное распределение мощности на колеса. Одной из ключевых особенностей является наличие полного привода, который активируется с помощью раздаточной коробки. Это позволяет автомобилю уверенно справляться с различными дорожными условиями, включая грязь и снег.
Специалисты подчеркивают, что конструкция трансмиссии Нивы 2121 была разработана с акцентом на простоту обслуживания и ремонтопригодность. Это делает автомобиль популярным среди владельцев, которые ценят возможность самостоятельно проводить техническое обслуживание. Кроме того, трансмиссия обеспечивает хорошую проходимость и устойчивость на сложных маршрутах, что делает Ниву 2121 идеальным выбором для любителей активного отдыха и путешествий по бездорожью.

Особенности нивовской конструкции
К особенностям трансмиссии Нивы можно отнести наличие межосевого дифференциала, который соединяет передний и задний мосты. Это позволяет колесам вращаться не только под различными углами, но и с разными угловыми скоростями, что значительно улучшает управляемость в условиях сложного бездорожья.
Межосевой дифференциал расположен в раздаточной коробке и по своей конструкции схож с межколесными дифференциалами.
Главным преимуществом межосевого дифференциала Нивы является возможность его блокировки при вращении карданных валов с одинаковыми характеристиками. Блокировка осуществляется вручную и рекомендуется только в сложных условиях, когда необходимо преодолеть глубокие ямы, колеи или снежные заносы, при этом важно, чтобы не было пробуксовки.
На практике механическая блокировка, хоть и требует некоторых усилий, оказывается более эффективной, чем современные электромагнитные муфты, применяемые в других автомобилях. Например, Renault Duster может столкнуться с трудностями на сложном бездорожье, так как его электронная система управления ограничивает передаваемый момент. В то же время, Нива с механической блокировкой не испытывает таких проблем.
Если оставить межосевой дифференциал в заблокированном состоянии, это может привести к повышенному износу и ухудшению управляемости автомобиля. Индикатор блокировки будет гореть на приборной панели Нивы, напоминая водителю о включенном режиме. Однако стоит помнить, что блокировка не предотвратит потерю сцепления одного из колес.
Для преодоления сложных участков трансмиссия Нивы предлагает использовать низшую передачу с высоким передаточным числом (2,135), в то время как высшая передача имеет значение 1,2 и предназначена для обычных условий движения. В раздаточной коробке предусмотрены различные режимы для высшей и низшей передач. Низшая передача активируется перед заездом на заснеженные участки, рыхлые грунты, подъемы и при буксировке грузов. Она помогает компенсировать недостаток мощности двигателя Нивы и позволяет преодолевать труднопроходимые участки, доступные только мощным автомобилям.
Ремонт раздаточной коробки Нивы 21213
Некоторые водители осваивают переключение передач на скорости 30-35 км/ч. В противном случае придется остановить автомобиль и производить переключение на стоянке.
Важно отметить, что Нива требует внимательного подхода к выбору шин, так как их качество может существенно повлиять на износ трансмиссии уже за один сезон. Шины должны быть одинаковыми по степени износа и размеру. Различия в характеристиках могут привести к увеличению нагрузки на трансмиссию и пробуксовке на низшей передаче, а также к повышенному износу дифференциалов при нормальном движении.
| Элемент трансмиссии | Описание | Функция |
|---|---|---|
| Сцепление | Однодисковое, сухое, с диафрагменной пружиной | Временно разъединяет двигатель и трансмиссию для переключения передач и плавного старта |
| Коробка передач | Механическая, пятиступенчатая, с синхронизаторами на всех передачах переднего хода | Изменяет крутящий момент и частоту вращения, передаваемые от двигателя к раздаточной коробке |
| Раздаточная коробка | Двухступенчатая, с межосевым дифференциалом и возможностью его блокировки | Распределяет крутящий момент между передним и задним мостами, имеет понижающую передачу для движения по бездорожью |
| Карданные валы | Два карданных вала (передний и задний) с шарнирами равных угловых скоростей | Передают крутящий момент от раздаточной коробки к редукторам мостов |
| Главные передачи | Конические, гипоидные, в картерах переднего и заднего мостов | Увеличивают крутящий момент и изменяют направление его передачи на полуоси |
| Дифференциалы | Межколесные, конические, в картерах переднего и заднего мостов | Позволяют колесам одной оси вращаться с разной скоростью при поворотах |
| Полуоси | Передают крутящий момент от дифференциалов к ведущим колесам | Передают крутящий момент от дифференциалов к ведущим колесам |
Интересные факты
Вот несколько интересных фактов о трансмиссии автомобиля Нива 2121:
-
Полный привод с возможностью блокировки дифференциала: Трансмиссия Нивы 2121 включает в себя систему полного привода с возможностью блокировки центрального дифференциала. Это позволяет автомобилю эффективно справляться с труднопроходимыми участками и обеспечивает отличную проходимость в условиях бездорожья.
-
Простота конструкции: Трансмиссия Нивы 2121 отличается своей простой и надежной конструкцией. Это делает ее легкой в обслуживании и ремонте, что особенно ценится владельцами автомобилей, использующих Ниву в условиях экстремальной эксплуатации.
-
Передаточные числа: Нива 2121 имеет уникальные передаточные числа, которые обеспечивают хороший баланс между скоростью и мощностью. Это позволяет автомобилю уверенно двигаться как по городским дорогам, так и по сложным маршрутам, что делает его универсальным средством передвижения.

Модифицированные версии
Стандартная трансмиссия Нивы, несмотря на свои преимущества, часто вызывает дискомфорт из-за шума в салоне. Это связано с особенностями конструкции, однако с помощью инженерных решений можно значительно улучшить ситуацию и сделать поездки более тихими.
Такой подход уже был реализован в автомобилях модели ВАЗ-21213, где даже на скорости 100 км/ч шум практически не ощущается, что позволяет спокойно общаться и слышать собеседника. Для достижения этого результата применяются различные методы модернизации: от разгрузки пола в районе креплений раздаточной коробки и механической коробки передач до уменьшения нагрузки на подшипники валов и сглаживания пиковых нагрузок на трансмиссию. Эффект достигается благодаря изменению расположения редуктора переднего моста, который в обновленной версии устанавливается на резиновых опорах на некотором расстоянии от двигателя. Это решение минимизирует реактивный момент в продольно-вертикальной плоскости и снижает уровень шума при движении.
Шум в модернизированной трансмиссии Нивы сопоставим с уровнем шума в «Жигулях». В результате поездки по бездорожью становятся более комфортными. Затраты на модернизацию невелики, для ее реализации требуется лишь понимание конструкции мастера и немного времени.

Обслуживание и ремонт трансмиссии Нивы 2121
Трансмиссия Нивы 2121, состоящая из механической коробки передач, раздаточной коробки и системы привода, требует регулярного обслуживания для обеспечения надежной работы и долговечности. Основные аспекты обслуживания включают проверку уровня и состояния трансмиссионного масла, диагностику и замену изношенных деталей, а также профилактические меры для предотвращения поломок.
Проверка и замена масла
Регулярная проверка уровня трансмиссионного масла является важной частью обслуживания. Рекомендуется проверять уровень масла каждые 5-10 тысяч километров пробега. Для этого необходимо:
- Убедиться, что автомобиль стоит на ровной поверхности.
- Открыть капот и найти щуп для проверки уровня масла в коробке передач.
- Если уровень масла ниже нормы, его необходимо долить до необходимого уровня.
Замена масла в трансмиссии должна проводиться каждые 30-50 тысяч километров. Для этого:
- Слить старое масло через сливное отверстие.
- Заменить масляный фильтр (если он предусмотрен).
- Залить новое масло, соответствующее спецификациям производителя.
Диагностика и замена деталей
При обслуживании трансмиссии важно обращать внимание на признаки износа или повреждения. К основным симптомам, требующим диагностики, относятся:
- Проблемы с переключением передач.
- Посторонние шумы при работе трансмиссии.
- Утечки масла.
Для диагностики рекомендуется использовать специальные инструменты и оборудование, такие как манометры и сканеры. Если выявлены неисправности, необходимо заменить изношенные детали, такие как подшипники, синхронизаторы или шестерни.
Профилактические меры
Чтобы избежать серьезных поломок трансмиссии, следует соблюдать несколько профилактических рекомендаций:
- Избегать резкого старта и перегрузки автомобиля.
- Регулярно проверять состояние сцепления и при необходимости производить его регулировку или замену.
- Следить за состоянием резинотехнических изделий, таких как сальники и прокладки, чтобы предотвратить утечки масла.
Соблюдение этих рекомендаций поможет продлить срок службы трансмиссии Нивы 2121 и обеспечить ее надежную работу в различных условиях эксплуатации.
Вопрос-ответ
Как устроена трансмиссия на Ниве?
На Шевроле Нива стоит пятиступенчатая механическая коробка передач. Она разработана на базе классических КПП ВАЗ, но с доработками под полный привод. Внутри всё стандартно: два вала (первичный и вторичный), набор шестерён и синхронизаторов.
Как работает раздатка на Ниве 2121?
Принцип работы раздатки на Ниве: межосевой дифференциал распределяет этот момент между передними и задними колесами. Если один из мостов теряет сцепление, дифференциал блокируется, и момент равномерно передается на оба моста.
Что означают рычаги на ниве?
Если говорить о классической «Ниве», РК имеет два рычага управления: передний, позволяющий заблокировать или разблокировать межосевой дифференциал, и задний, служащий для переключения передач в РК и имеющий три положения (низшая передача, нейтраль, высшая передача).
Советы
СОВЕТ №1
Перед началом работы с трансмиссией Нивы 2121, обязательно ознакомьтесь с технической документацией и схемами. Это поможет вам лучше понять устройство и принцип работы системы, а также избежать ошибок при ремонте или обслуживании.
СОВЕТ №2
Регулярно проверяйте уровень и состояние трансмиссионного масла. Замена масла и фильтров в трансмиссии поможет продлить срок службы агрегата и улучшить его работу. Рекомендуется менять масло каждые 30-50 тысяч километров пробега.
СОВЕТ №3
При ремонте или замене деталей трансмиссии используйте только оригинальные запчасти или качественные аналоги. Это обеспечит надежность и долговечность работы трансмиссии, а также снизит риск возникновения дополнительных проблем.
СОВЕТ №4
Не забывайте о регулярной диагностике трансмиссии. Обращайте внимание на необычные звуки, вибрации или утечки масла. Ранняя диагностика поможет выявить проблемы на начальном этапе и избежать более серьезных поломок в будущем.

